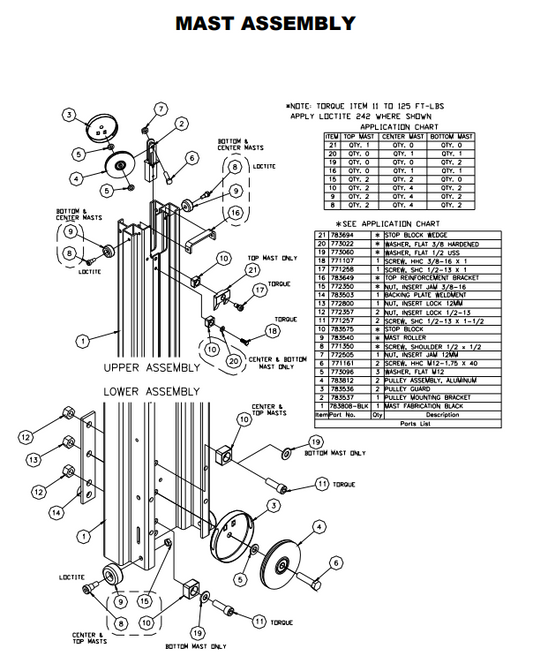
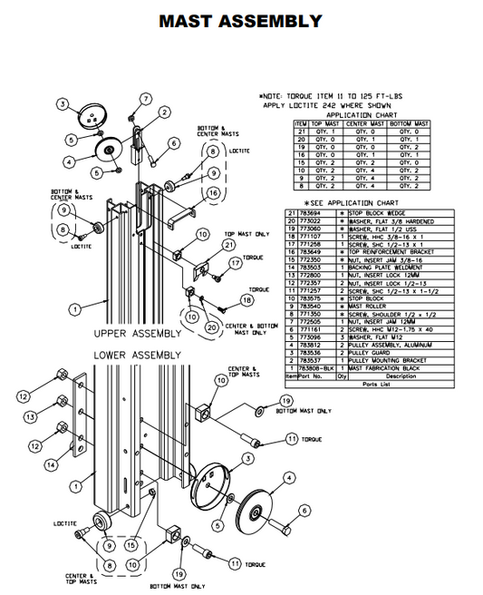
Collection: Eventers Parts